聯繫我們

Contact Us

產品型錄

Product of us

電刷圖庫

Carbon Brush

網上購買

B2B.twcb.tw

購買說明

How to Buy

4M

Group

若4M形式無您所需的型號,請至以下形式查詢:

同類形式

相近形式

相關形式

新型設計

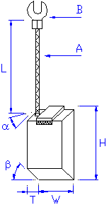
一般構造 0C . 0E

Type T(mm) W(mm) H(mm) L(mm) A B α ß Grade
4M-092557-E 9.5 25.4 57 120 30 Y5      
4M-093157-E 9.5 31.7 57 120 40 Y6      
4M-093854-E 9.5 38.1 54 120 45 Y7      
4M-112544-E 11.1 25.4 44.4 100 40 Y6      
4M-112557-E 11.1 25.4 57 120 40 Y6      
4M-113157-E 11.1 31.7 57 120 40 Y6      
4M-122544-E 12.7 25.4 44.4 100 40 Y6      
4M-122557-E 12.7 25.4 57 120 40 Y6      
4M-123157-E 12.7 31.7 57 120 50 Y7      
4M-123851-E 12.7 38.1 51 110 60 Y7      
4M-142557-E 14.2 25.4 57 120 45 Y7      
4M-143157-E 14.2 31.7 57 120 50 Y7      
4M-152557-E 15.8 25.4 57 120 50 Y7      
4M-153157-E 15.8 31.7 57 120 30 Y7      
4M-153163-E 15.8 31.7 63.5 120 60 Y7      
4M-153851-E 15.8 38.1 51 110 80 Y8      
4M-193863-E 19 38.1 63.5 130 100 Y8      
4M-223151-E 22.2 31.7 51 120 100 Y8