聯繫我們

Contact Us

產品型錄

Product of us

電刷圖庫

Carbon Brush

網上購買

B2B.twcb.tw

購買說明

How to Buy

4K

Group

若4K形式無您所需的型號,請至以下形式查詢:

同類形式

相近形式

相關形式

新型設計

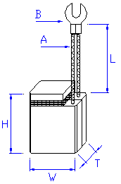
一般構造 0B

Type T(mm) W(mm) H(mm) L(mm) A B     Grade
4K-122032-E 12.5 20 32 80 20*2 Y5      
4K-122536-E 12.5 25 36 85 25*2 Y5      
4K-162032-E 16 20 32 80 20*2 Y5      
4K-162536-E 16 25 36 85 25*2 Y5      
4K-202540-E 20 25 40 85 30*2 Y7